published:2013-11-30 14:51:25 visits:576 source:Wuxi Huatong Pneumatic
气液联动位置控制回路
当要求定位精度较高时,可采用气液联动位置控制回路。
图1 所示为采用并联式气—液阻尼缸的位置控制回路。在阻尼缸伸出和退回过程中,两个二位二通液压电磁阀可使阻尼缸停下来,一旦停止运动,三位阀即处于中位,气缸两腔室压力为大气压,操作更为方便。

图1 气—液阻尼缸位置控制回路
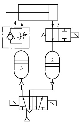
图2 所示为采用气液转换器控制活塞杆中停位置的回路,单向节流阀控制气缸退回速度。当二位二通电磁阀切断回程油路时,可迅速使活塞杆停止在行程任意位置上。

图2 气—液转换器位置控制回路
